新人如何在领英上开发客户?
道路千万条,安全第一条!对于孕妈来说~因为系安全带不是很舒服,所以很多人会选择坐在副驾驶或者减少坐车次数,那么对于孕妇小仙女来说!有没有一款专门为孕妇设计的安全带呢?
还真有!
下面这款安全带就是专门为孕妈设计的安全带,目前是亚马逊美国站的Amazon'sChoice,现有留评数2552,售价在13.99-14.88美金之间:


这款安全使用时不会挤压胎儿;不使用时,美观整洁,不影响上下车和驾驶;并且调节范围大,适用于各种车型;经测试可承受最大10吨的拉力;在发生意外时,佩带此安全带可以保护孕妈和未出生的宝宝免受伤害。它可以让孕妈司机专注于驾驶,并让孕妈的旅途更加舒适和安全。
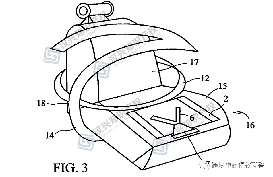
这么实用并且呵护孕妈的产品,我们对其做了下美国市场的调研和专利检索分析,发现孕妇安全带这类产品一直在更新新品,并且流量巨大,里面存在一些专利产品,还是发明专利。

下面是孕妇安全带美国发明专利的截图:


所以,如果有美国站卖家需要开发这类产品,应谨慎采购,有一定侵权风险!
我们建了一个亚马逊卖家交流群,里面不乏很多大卖家。
现在扫码回复“ 加群 ”,拉你进群。
热门文章
*30分钟更新一次







