内外兼修!如何提高亚马逊站内外流量的转化率?(下)
宠物经济一直都非常火热,根据数据统计,在美国有大约一半的家庭都饲养了宠物,宠物用品的销售额已经突破6000多亿人民币,年增长率约为5.8%!
热卖的产品包括,各类宠物食品,宠物清洁产品,宠物玩具,宠物食物喂养器等
宠物产品的投诉及起诉也时有发生,
像Bristly的狗狗磨牙棒就发起过多起侵权案件。
详情可以点击图片查看:
今天要分享的产品,也是一款狗狗咀嚼玩具,在亚马逊上非常火。
在亚马逊销售页面
有接近50000个评论
这是一款红色橡胶狗狗咀嚼玩具,能够填充各类食物,让狗狗自由玩耍,满足它们的天性需求,缓解其分离焦虑,有助于宠物身心健康。
那这款产品有侵权风险吗?答案是有的!
这款橡胶磨牙狗狗玩具来自美国知名的宠物玩具品牌KONG,权利人是The KONG Company, LLC。品牌官网https://www.kongcompany.com/
除了宠物玩具之外,品牌还经营配件,服饰,水杯等。
首先The KONG Company, LLC注册了非常多的商标。
KONG品牌旗下的美国商标注册情况如下:


最火的橡胶咀嚼玩具拥有多个图形商标:
kong旗下也拥有很多专利注册,主要是各种宠物玩具。
下面列举一些销售得比较好的产品专利。
产品一:品牌最火的狗狗食物填充玩具,具有美国发明专利。
![]()
产品二:狗狗橡胶挤压玩具,拥有美国,英国,欧盟外观专利。
![]()
![]()
产品三:狗狗咀嚼球玩具,拥有美国外观专利。
![]()
产品四:逗猫玩具,拥有美国外观专利。
![]()
产品五、六:下面两款塑料球玩具,都拥有美国外观专利。
![]()
![]()
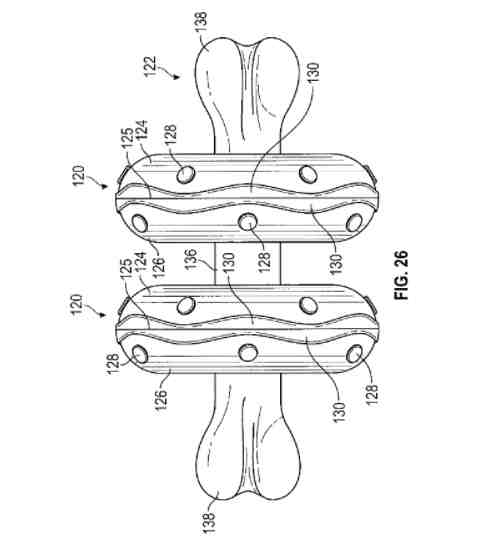
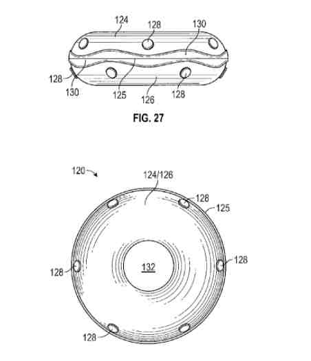
产品七,狗狗咀嚼玩具,拥有美国发明专利。
![]()
以上就是今天的宠物品牌分享,宠物品类一直都拥有非常好的销售市场,随着疫情的反复,大部分民众的主要购买途径都来自线上,接下来的各种旺季购物节点,卖家们可以好好安排一番。
我们建了一个亚马逊卖家交流群,里面不乏很多大卖家。
现在扫码回复“ 加群 ”,拉你进群。
热门文章
*30分钟更新一次





























