跨境周刊 | 拼多多9月上线跨境电商平台;亚马逊FBA美国站推出退货新政策
01、烟雾过滤器 PLUG DEVICE
品牌介绍:
Moose Labs是一位设计师,烟雾商店产品的开发人员和制造商。Moose Labs自2014年以来一直从事烟店产品的设计、开发、营销、销售和销售。本案产品是由Moose Labs经过 16 个月的研发,由三层活性炭组成的过滤器,由可生物降解和回收材料制成,可通过去除树脂、污染物和焦油来净化烟雾/蒸汽并增强风味;所有这些都不会阻塞您的进气口或减少气流。
品牌官网:https://mooselabs.us/

案件参数:
案件号:22-cv-4227
起诉时间:2022/8/11
起诉类型:专利
品牌方:Moose Labs LLC
起诉地:美国伊利诺伊州
代理律所:GBC
注册专利:







刊登举例:

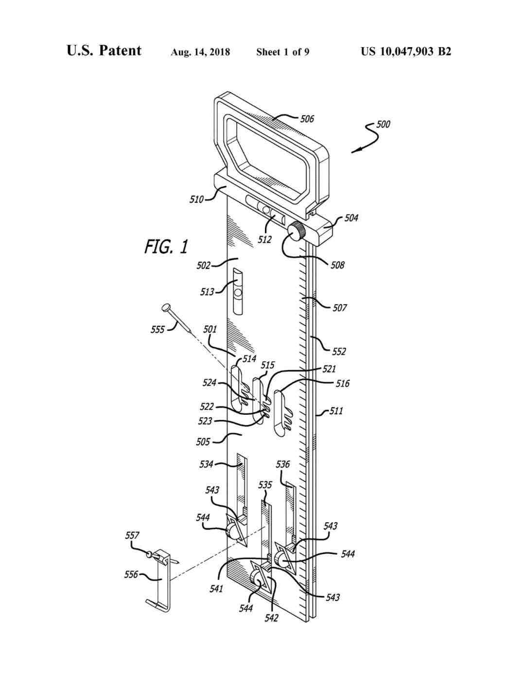
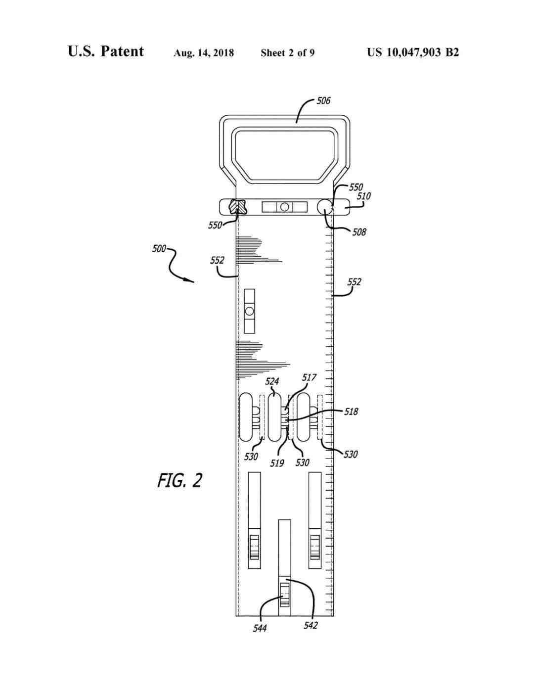
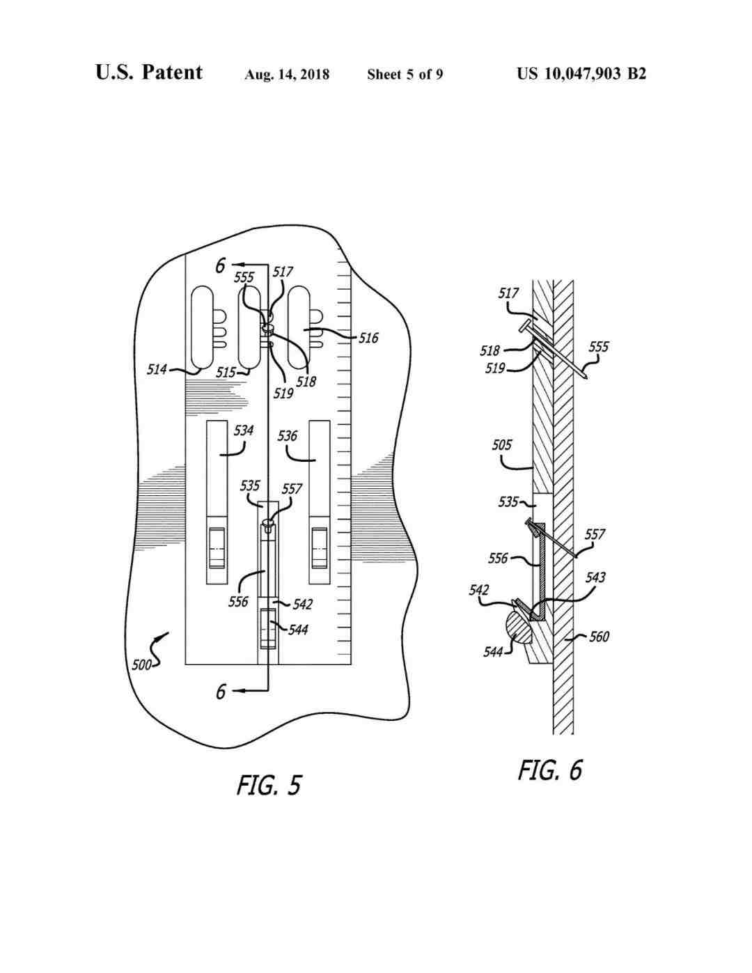
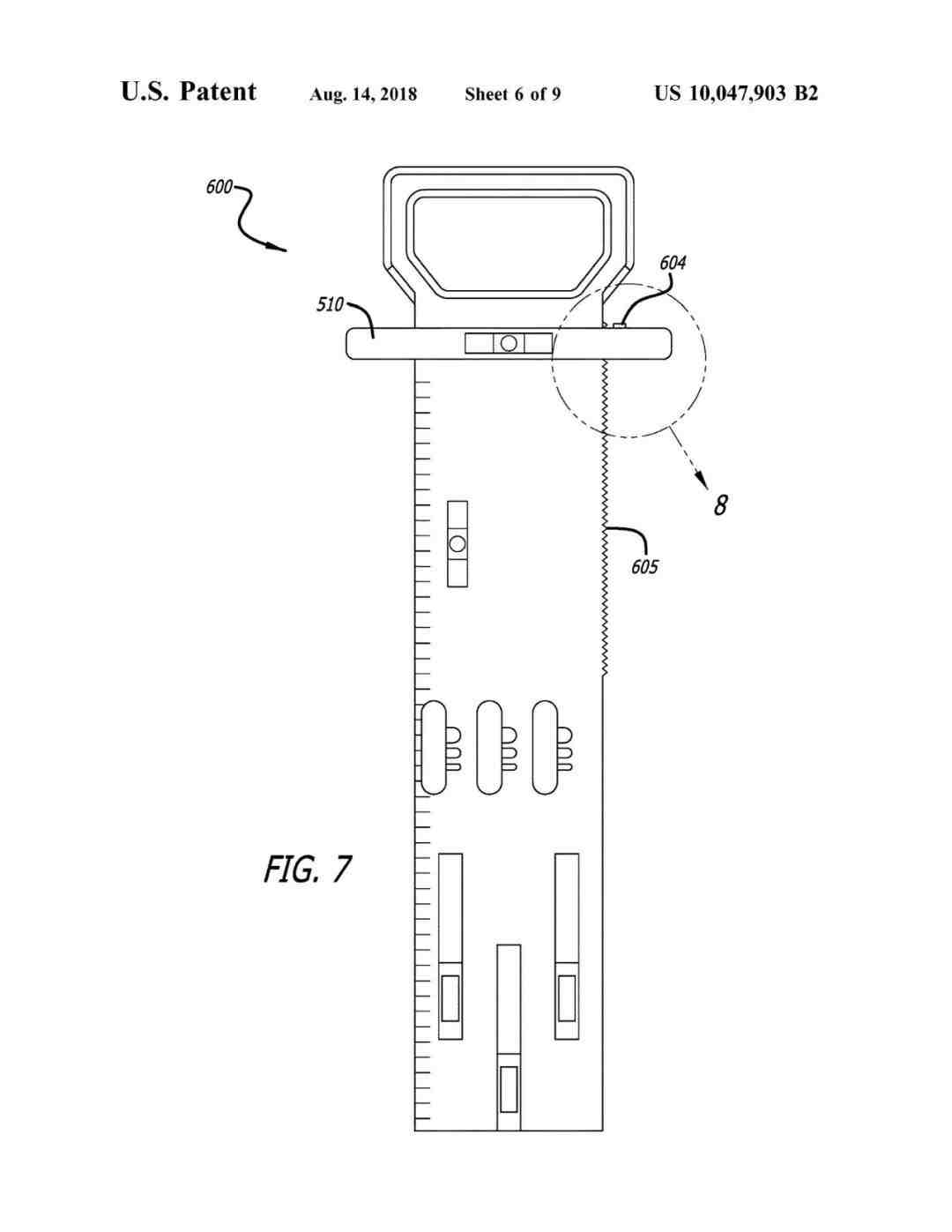
02、相框悬挂装置 PICTURE HANGING TOOL
品牌介绍:
本案专利持有人是一位居住在加利福尼亚州洛杉矶县的个人和一家加州公司,该公司主要营业地点在加州英格伍德。本案产品是一款多功能悬挂工具,可以用于悬挂钟表、镜子、相框、铁艺架、置物架、挂历等。

案件参数:
案件号:22-cv-5774
起诉时间:2022/8/16
起诉类型:专利
品牌方:DILLON BRUNO, an individual; CALIBER8 INC
代理律所:Law Offices of Kenneth I. Gross & Associates
注册专利:







刊登举例:

我们建了一个亚马逊卖家交流群,里面不乏很多大卖家。
现在扫码回复“ 加群 ”,拉你进群。
热门文章
*30分钟更新一次







