lazada促销活动有哪些?有哪些营销活动?


这款魔术扫把采用不锈钢和硅胶橡胶材质,使用后易于清洗和晾干,扁平的弧形设计能够非常方便的清洁每个角落。不仅可用于地板清洁,还可用作浴室扫帚清洁水槽、玻璃、镜子和墙壁。它也适用于客厅、厨房、游泳池、车库、浴室。它可以有效地干燥地板表面,轻松去除污垢和毛发。

专利情况
全球发明专利:WO2020130243A1 带有辅助清洁部件的清洁器

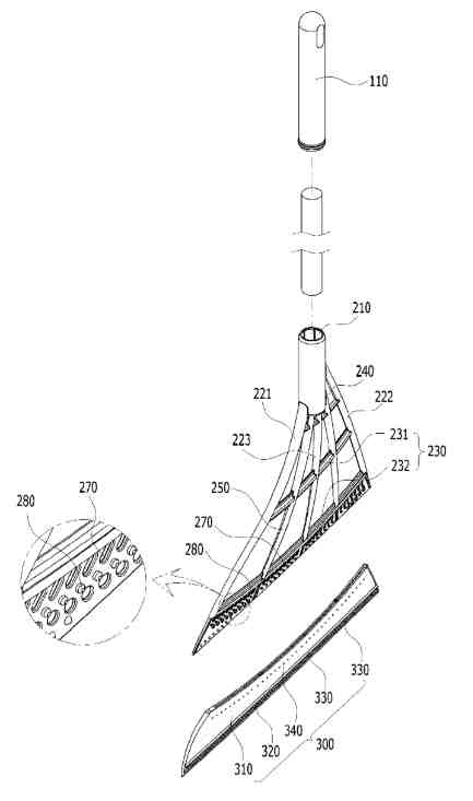
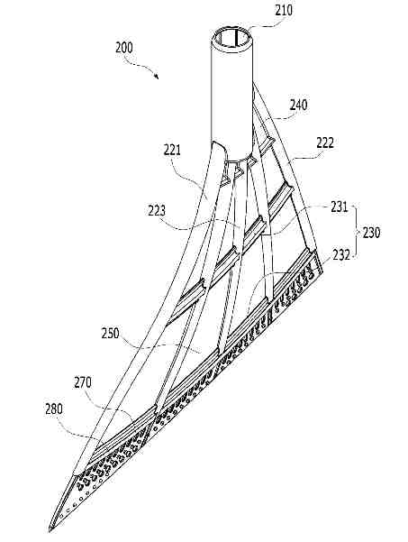
根据本发明实施例的具有辅助清洁单元的清洁器10包括沿竖直方向延伸的杆状握持部100和握持部的下部。握持部100形成为由用户握持,并且形成为沿竖直方向延伸的杆状。

清洁部件200设置有多个框架,它是由硬质材料制成。加强框架部分230形成为支撑主框架部分220通过将清洁部分200放置在清洁对象上并沿一个方向推动它进行扫掠而产生的拉力,使得清洁部分200是柔性的但它用于防止弯曲。
外壳210形成为小于或等于握持部100的直径的管状形状,以允许握持部100以过盈配合方式联接。
主框架部分220从外壳210的下侧垂直地形成,第一框架221以流线形倾斜角延伸,第二框架221从外壳221的下外圆周表面以弯曲形状延伸。

空间250通过在主框架部分220和加强框架部分230之间贯穿而形成,这将清洁部分200形成为格子形状,同时降低了大规模生产期间的制造成本。这是为了有效地清洁物体。
此外,即使用户握住握持部分100并沿一个方向扫动以清洁清洁对象,空间部分250也用于在空气通过时最小化灰尘状清洁对象的飞散。
专利分析
1、产品可以分成握杆和扫把两个部分,这两个部分可以通过多种方式链接;
2、扫把部分带有格子型框架,该框架的作用在于提升扫把的柔韧度,使用时产生拉力,起到更好的清洁效果;同时,格子型框架还能在空气通过时能抑制灰尘的飞散;还能降低生产成本;
3、扫把侧面以流线形倾斜角延伸,方便清洁角落等不易清洁的位置。
符合以上特征则有侵权风险!
我们建了一个亚马逊卖家交流群,里面不乏很多大卖家。
现在扫码回复“ 加群 ”,拉你进群。
热门文章
*30分钟更新一次







