亚马逊MCF无品牌包装计划在英国推出,拓宽卖家销售渠道!
榨汁器大家都知道,一般都是通过上下挤压来达到榨汁的效果,不仅费力,榨汁的效果也一般。图中这款榨汁机就不同了,它在保持传统榨汁机功能的同时还进行了改良,增加了一个旋转部件,能够进一步提升榨汁的效率。
专利情况
美国发明专利:US2017332820A1 带旋转元件的手持式柑橘榨汁机

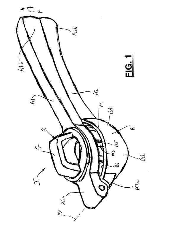
榨汁机J包括第一(上)臂A1和通过铰链H枢转地连接到第一臂A1的第二(下)臂A2。手臂 A 1 ,A 2由任何合适的材料制成,例如注塑成型或以其他方式形成(例如,使用增材制造方法)的聚合材料、金属或木材。臂 A 1 、 A 2的形状和尺寸设计成使得当柑橘类水果的切半部分位于在臂A 1、A 2之间用于从水果中提取汁液。
类似的无关紧要的表述还有很多,普通的榨汁机也是这些特征,所以就不过多列举。重点是下面的“旋转部件”:

第一臂A1包括可旋转元件支撑开口AO(图3 ),可旋转元件R被接收、保持和支撑以相对于第一臂A1围绕旋转轴线RX旋转。支撑开口AO的圆柱形内壁AC使得可旋转元件为R 可围绕旋转轴线RX在支撑开口AO中沿第一(顺时针)和第二(逆时针)相反的旋转方向往复旋转。

可旋转元件 R 包括铰刀 M。铰刀 M 包括突出的圆锥或其他锥形外表面 M 1 ,当它远离把手 G 延伸时,该外表面 M 2会聚到尖端 M 2上。外表面 M 1铰刀的末端包括从外表面M 1向外突出的多个尖端M 3。

为了使用榨汁机J,柠檬、酸橙、橙子、葡萄柚或其他柑橘类水果在其中部附近被切成两半,第二臂A 1、A 2在弧P上朝向彼此枢转,使得尖端M 2铰刀 M 的末端与切割面上暴露的柑橘类水果果肉啮合,使得铰刀M挤压暴露的柑橘类水果的果肉。
专利总结
从专利所表达的榨汁机结构来看,整体与常规榨汁机并无太大区别,专利的设计核心在于其“旋转部件”,该装置有助于提高榨汁效率,类似结构均有侵权风险!
我们建了一个亚马逊卖家交流群,里面不乏很多大卖家。
现在扫码回复“ 加群 ”,拉你进群。
热门文章
*30分钟更新一次







